AKM新一代高性能32位DAC,具有最多8通道,是基于AKM的VELVET SOUND 架构,被广泛的高端音频公司广泛应用。

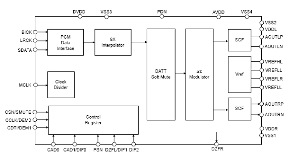
图1.AK4390方框图

图2.AK4390系统连接图

图3.外接PCM用LPF电路图(1)(fc = 125kHz, Q=0.692)

外接PCM用LPF电路(1)滤波器频率响应特性

图4. 外接PCM用LPF电路图(2)

外接PCM用LPF电路(2)滤波器频率响应特性
(东京,日本)全球领先的互连解决方案定制与组装商——美国倍捷连接器,将于2025年2月19日再次登陆位于东京国际展览中心(Tokyo Big Sight)举办的日本智慧能源周(Smart Energy.....
2025-02-18 16:21易库易
易库易近期重磅推出Chip One Stop是日本领先的电子元器件目录分销商,除具备下单响应快、交期短之外,最为优势的是全面接入的700000+料号种类全、覆盖广,可以满足用户各种需求,而且还全现货供.....
2020-04-23 10:04易库易
开合式绑环为需要远离尾附件的编织层护套、单个或组合屏蔽编织层端接提供了轻巧、坚固、可靠的电气方案。两件式设计采用高性能工程塑料,可拼接在一起,提供出色的机械联结,包括保护端接区域下的线束。 .....
2019-05-23 18:04易库易
【AI性能跃升10倍!英特尔车载SoC新品上海车展首秀,驱动汽车智能化升级】4月23日,上海车展盛大开幕,丰田、比亚迪、长安汽车、上汽、.....
媒体报道 2025-04-25 16:41
【美国芯片品牌的原产地汇总】中美关税大战已经爆发,美国对中国产品累计加关税145%&nb.....
媒体报道 2025-04-17 16:40
【2025慕尼黑上海电子展逛展,边缘AI成关注焦点】4月15日,慕尼黑上海电子展盛大开幕,现场人潮涌动,众多国内.....
媒体报道 2025-04-16 16:18
【服务器级芯片进军嵌入式市场,AMD这颗处理器驾驭AI洪流】日前,AMD宣布推出第五代 AMD EPYC 嵌入式处理器,.....
媒体报道 2025-03-28 10:06
【深圳“搞钱军团”VS上海“科技新贵”,谁将引领中国分销未来?】华南地区占据半壁江山,华强北一手遮天!当深圳华强北的电子元器.....
媒体报道 2025-03-20 16:50
CY8CKIT-062-WIFI-BT
厂商: Cypress Semiconductor
类别: RF评估和开发套件/板
CYBT-213043-MESH
厂商: Cypress Semiconductor
类别: RF评估和开发套件/板
AC0603FR-1347KL
厂商: Yageo
类别: 贴片电阻
CY4609
厂商: Cypress Semiconductor
类别: 评估和演示板和套件
RC0603FR-0724KL
厂商: Yageo
类别: 贴片电阻
CC0402KRX7R9BB473
厂商: Yageo
类别: 陶瓷电容MLCC
CL10B473KB8WPNC
厂商: Samsung Electro-Mechanics
类别: 陶瓷电容MLCC